Jakiś czas temu udało mi się wynalaźć zestaw elektrycznych szyb, zrobiony specjalnie w wersji dla Capri, a nie bazujący na przeróbkach z innych samochodów, lub zestawach tzw. uniwersalnych. Traktując to jako pewną ciekawostkę, przedstawiam poniżej dokumentację. Producentem jest włoska firma Electric-Life.
Oto oryginalna instrukcja:
Instrukcja montażu:
- Wymontować mechanizm ręcznego opuszczania szyby
-
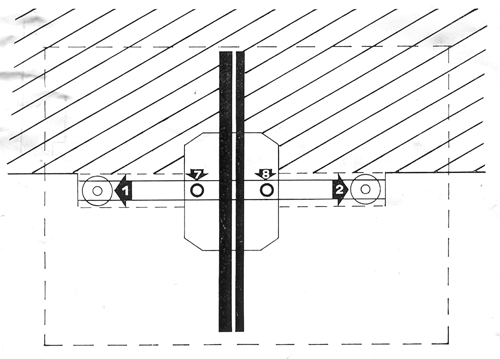
Zamontować listwę okienną w pozycji 1 i 2, jak pokazano na rysunku:
-
Zamontować nowy mechanizm w otworach 3 i 4, usunąć zaślepkę z pozycji 5,
wykręcić śrubę z otworu 5, i jednocześnie zamocować w pozycji 6:
- Przykręcić śruby 7 i 8
- Wyregulować mechanizm tak samo jak dla mechanizmu ręcznego
-
Połączyć elektrykę według schematu:
-
dwa przełączniki centralnie:
-
dwa przełączniki po stronie kierowcy, jeden po stronie pasażera:
-
dwa przełączniki centralnie:




